frontline_emblem.gif (1743 bytes)

|    In-Circuit Emulators for 8051 Devices.   |   TMS320VC5416 Products.   |  Gang Programmers.   |   
 |    Device Programmers.   |    ARM Products.   |   DSP Products. |    World’s Advanced Trainers for Microcontroller / Microprocessors.   | 
|   Embedded Control Solutions - 8031 Microcontrollers.    |  Embedded Control Solutions - Renesas Microcontrollers.   |
|   DC Regulated Power Supplies.  |  Downloads.  |  Mailing List.  |  Contact.  |  Home.  |

Diamond Boards.

- TMS320VC5416 Diamond Board.
- TMS320C50 Diamond Board.
- TMS320C31 Diamond Board.
- ADSP2181 Diamond Board.

Trainers.

- TMS320VC5416 Starter Kit.
- ADSP2181 Starter Kit.
- TMS320C50 Starter Kit.
- TMS320C31 Starter Kit.
- Topview DSP Debugger.
- Add-on Options.

- ADSP2181 EVM.
- FAQ.
- Download eCatalog on DSP Products.

Tell Your Friend

Friend's Name:

Email:


Your Name:

Email:




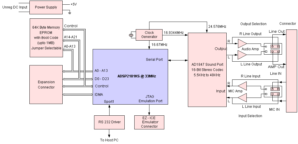
ADSP2181 Starter Kit.


ADSP2181 is the most used DSP device from the Analog Devices. This starter kit is the ideal development platform that gives all the required infrastructure at an affordable cost. It is most suitable for audio/speech applications thanks to the stereo CODEC device available in the kit. 

2181Kit.jpg (20238 bytes)

  • ADSP2181 operating at 33 MHz.
  • Boot EPROM / FLASH memory is 64K X 8 bits / 128K X 8 bits.
  • On-chip Program memory: 16K X 24 bits.
  • On-chip Data memory: 16K X 16 bits.
  • Built-in Preamplifier and Power amplifier for connecting the microphone and speaker directly.
  • 16 bit serial port stereo CODEC using AD1847. Sample rate varies from 5.5KHz to 48KHz.
  • RS 232 serial port for communicating with the host PC.
  • Development software with GUI facility.
  • Ideal solution for first time ADSP users.

Bundle Contents:

  • ADSP2181 Starter Kit.
  • CDROM with useful documents and software.
  • Power Supply.
  • Serial Port Communicating Cable.
  • Analog Input / Output Cable.
  • ADSP2181 Starter Kit Technical Reference Manual.
  • ADSP2181 Starter Kit Experiments Manual.
  • AD1847 Chip Details
  • ADSP2100 Family User's Manual.

Block Diagram of ADSP2181 Starter Kit.

Click to get expanded image

 


Also Available:

Other DSP Trainers from Texas Instruments and Analog Devices.
Call  Frontline Electronics  for specific requirement.

 

Why

Frontline Electronics for DSP Tools ?

l We, at FE, conceive, design, manufacture, market all the required DSP tools in-house. Because of this, we have everything right from the scratch to the final documentation in total control.

We give more emphasis on making the DSP technology user friendly in all respects. Accordingly, we make both the hardware and software combination a best one to make DSP learning an easy and interesting one.

l FE’s DSP trainers come with simple hardware designed mainly to make the study of target DSP device a comforting one without complicated elements.

l DSP hardware presents itself as friendly to you and motivate you to take up advanced studies without overwhelming circuits.

l These days, new DSP trainers are configured using the respective DSP Diamond boards. So, after studying the target DSP, you can easily put the Diamond board into your target application with minimum external hardware. A Big Savings in your Time and Money!!

l FE already established itself as a reliable supplier of the DSP tools for the last 10 years. In addition, FE shall continue supplying the same kind of DSP tools for a very long time in the future also.

Think DSP.
Think Frontline Electronics.